
科技的進步無疑是推動世界發展的引擎,隨著科技的發展駛入快車道,各種顛覆性的創新不斷的刷新人們的認知。無人機、無人駕駛……這些在以前看來不可思議的事情,現如今也不是什么新鮮事。但是水下倉庫,一定還有很多人尚未聽說過,是不是再次的刷新你的認知?
據外媒報道, 亞馬遜已經成功申請了一種在水下儲存包裹的方法,即“水下倉庫”。亞馬遜這一腦洞大開的創新,再一次的顛覆人們的認知。
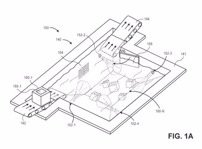
水下倉庫原理:
存儲在水里的包裹,上面有輸送帶,亞馬遜向存儲有包裹的水中發出一個聲波信號,告知所需的包是時候出來了。每個包裹配備有壓縮空氣和壓艙物的容器,就像一艘潛水艇一樣,包裹頂部的柔性氣囊在壓縮空氣進入的時候,膨脹成氣球。當水聽器聽到亞馬遜的聲波穿過水面時,會彈出氣球。借助膨脹的氣球,包裹可上升到水面。
眾所周知,企業能夠長遠發展立于不敗之地,與企業持續創新脫不開關系。據了解,去年亞馬遜申請的專利是飛艇倉庫,從亞馬遜連年來對物流配套設置的重視,可窺探出其在提升買家購物流體驗方面作出巨大投資。
另一方面,從亞馬遜提出水下倉庫來說,也反映出土地資源越來越少,已經無法滿足人類的發展需求。或許在不久的將來,你的包裹將水底下。